The United States Patent and Trademark Office (USPTO) published a patent application from Apple Inc. (NASDAQ:AAPL) relating to a method of modifying a mobile device’s security levels depending on its location. This application was one of thirty relating to Apple products and processes that the USPTO published as part of its usual Thursday information release.
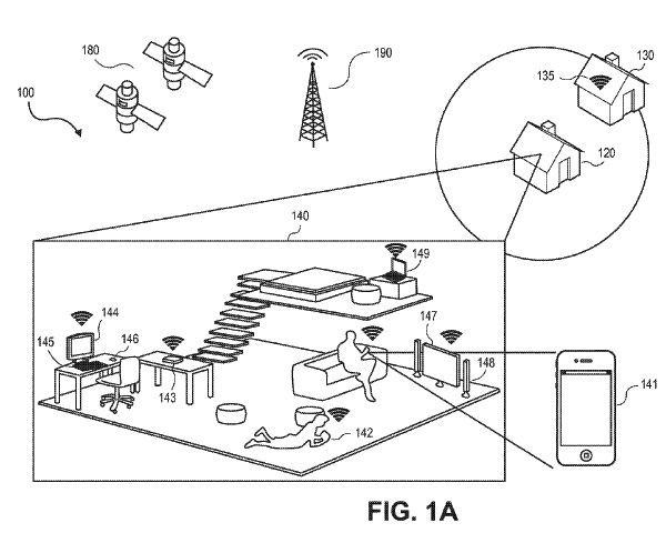
The application, #20140187200, bears the long but highly descriptive title “Location-Sensitive Security Levels and Setting Profiles Based on Detected Location.” The process involves a certain amount of GPS or geofencing detection to determine if the device is at the user’s home, workplace, on the street, at an airport, and so on, and automatically adjusts the strength of security to match the likely risks of a given locale.
The goal of the method, which applies to iPhones, iPads, iPods, and other “mobile devices” (possibly including the iWatch), is to reduce the number of times a user needs to carry out authentication while they are in a “safe” location such as their home. The technique would also make it possible to define certain locations as “high risk” zones, in which the “Location-Sensitive Security Levels” would adjust upward to require more authentication procedures than everyday locations such as the office or the local park.
The mobile device, according to the application, can be set up to detect location using a range of parameters, including GPS data, Bluetooth signals (likely an oblique reference to the iBeacon system), cellular network signal strength and direction, proximity of other user-owned devices (such as a Mac home computer), and so on.

The technique would be sensitive enough to distinguish between different parts of a single large location, such as between the parking lot outside the office building where the user works, and the user’s cubicle inside. The patent application notes that the method would require a dedicated hardware component and specialized software also.
The application was originally filed on December 31st, 2012, with Apple Inc. (AAPL) as the assignee. The idea has four inventors of record, all of them from California: Alexander Reitter, David Amm, Julian Missig, and Raymond Walsh. This quartet of inventors has filed numerous patent applications on behalf of Apple in the past, either singly or with various combinations of other people. Their collaboration on the recently unveiled application indicates the complexities involved in creating a method that may appear in all future mobile devices made by Apple, Inc.



